指導力不足教員の特別研修/来年4月から実施20人前後申請
県教育委員会では、来年4月より、指導力が不足する教員の学校外での特別研修を、友部町の県教育研修センターで行うことを決めています。
12月26日発行の地元紙に、指導力不足教員の特別研修を受けるために、判定委員会にかけられる教員は小中高校を合わせて20人前後であると報道されました。
井手よしひろ県議は、12月県議会文教治安常任委員会で、特別研修の準備状況を詳しく質問し、公平な認定と万全な準備を訴えました。
その際の答弁によると、県教育委員会は、学校長から認定申請をもとに、年明けに判定委を開催し、来年4月から一年間の校外研修が必要かどうかを判断します。指導力不足教員の申請は9月30日までに行われました。4月に策定された対応マニュアルに基づき、各学校では校内研修を実施。その上で、校長が「学習指導」「生徒指導」「学級経営」の三つの視点から、計34項目の観点で評価をしました。今回、申請された教員数は20人前後とみられ、小中学校をとりまとめる県内5つの教育事務所と高校で、それぞれ数人ずつが申請されました。県教育委員会はこれを受け、本人からの事情聴取に加え、前任校での評価や保護者、同僚教員らからの聞き取りなど詳細な調査を行っています。
一年間の特別研修でも改善が見られないと判断された場合には、研修の延長に加え、他職種への転任や退職勧奨、分限処分での免職までが制度化されています。判定委は県教育次長を委員長とし、大学教授や企業の人事担当者ら6人の外部委員のほか、県教育研修センター所長の計8人で構成されます。(写真は友部町の県教育研修センターの外見)
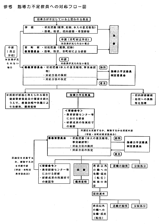
参考:詳細なフローチャート
参考:茨城県教育研修センター:リンク切れ
参考:茨城県教育委員会
県政ミニ通信編集印刷 →市民相談(市内旭町) →日立電鉄の廃線問題で沿線住民との懇談会開催 →公明党栃木県本部幹部との意見交換(移動距離94km)
| このページは、茨城県議会井手よしひろの公式ホームページのアーカイブ(記録保管庫)の一部です。すでに最終更新から10年以上経過しており、現在の社会状況などと内容が一致しない場合があるかもしれません。その点をご了解下さい。 |
